杭州浙西流体控制设备有限公司
咨询热线
19157877090
![]() |
|
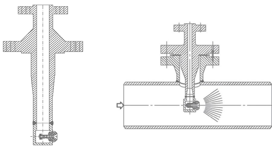
SV型弹簧背压式喷嘴雾化效果 |
|
尺寸 |
减温水连接端:DN20~50,蒸汽连接端: DN50~150 |
|
连接方式 |
GB、ANSI、DIN法兰、BW对焊,根据管道尺寸BW对焊连接 |
|
压力等级 |
减温水连接端:PN16~250,蒸汽连接端:PN16~250 |
|
减温水流量 |
按照通用Cv计算公式 |
|
雾化性 |
单喷嘴减温器同SV喷嘴数据,使用不同尺寸,不同弹簧设定值的多个喷嘴也可增加系统可调比 |
|
设计型式 |
对于减温水入口方 向垂直于管道轴线的:一体锻造式, 与管道管座连接,对于减温水入口方 向平行于管道周线的:锻造或钢板卷压焊接式结构 |
|
材质 |
阀体:根据温度可提供碳钢或Cr-Mo钢或304 |

下一篇:AT-M 多喷嘴过热蒸汽减温器